薄(bo)壁(bi)殼(ke)體傳(chuan)統的(de)加(jia)(jia)工(gong)(gong)(gong)(gong)(gong)(gong)(gong)(gong)工(gong)(gong)(gong)(gong)(gong)(gong)(gong)(gong)藝一(yi)般為制作復雜(za)專用(yong)工(gong)(gong)(gong)(gong)(gong)(gong)(gong)(gong)裝(zhuang)(zhuang)夾(jia)(jia)(jia)具,放(fang)于(yu)車床或加(jia)(jia)工(gong)(gong)(gong)(gong)(gong)(gong)(gong)(gong)中(zhong)心(xin)進行(xing)分(fen)序(xu)多序(xu)加(jia)(jia)工(gong)(gong)(gong)(gong)(gong)(gong)(gong)(gong),分(fen)別對工(gong)(gong)(gong)(gong)(gong)(gong)(gong)(gong)件兩(liang)端進行(xing)粗(cu)加(jia)(jia)工(gong)(gong)(gong)(gong)(gong)(gong)(gong)(gong),然后以一(yi)端粗(cu)加(jia)(jia)工(gong)(gong)(gong)(gong)(gong)(gong)(gong)(gong)過(guo)的(de)內(nei)腔為基準,進行(xing)定位,精加(jia)(jia)工(gong)(gong)(gong)(gong)(gong)(gong)(gong)(gong)另(ling)一(yi)端,設計、布(bu)置夾(jia)(jia)(jia)緊(jin)壓板,進行(xing)手(shou)動裝(zhuang)(zhuang)夾(jia)(jia)(jia),再利用(yong)加(jia)(jia)工(gong)(gong)(gong)(gong)(gong)(gong)(gong)(gong)中(zhong)心(xin)鏜銑另(ling)一(yi)端和(he)內(nei)部尺寸,共需四序(xu)完(wan)成。工(gong)(gong)(gong)(gong)(gong)(gong)(gong)(gong)件加(jia)(jia)工(gong)(gong)(gong)(gong)(gong)(gong)(gong)(gong)尺寸如圖1所示,由于(yu)壁(bi)厚<10mm,在裝(zhuang)(zhuang)夾(jia)(jia)(jia)和(he)加(jia)(jia)工(gong)(gong)(gong)(gong)(gong)(gong)(gong)(gong)過(guo)程中(zhong)會(hui)導(dao)致工(gong)(gong)(gong)(gong)(gong)(gong)(gong)(gong)件裝(zhuang)(zhuang)夾(jia)(jia)(jia)變(bian)形(xing)和(he)加(jia)(jia)工(gong)(gong)(gong)(gong)(gong)(gong)(gong)(gong)變(bian)形(xing),無法保證內(nei)孔、外(wai)圓(yuan)和(he)端面工(gong)(gong)(gong)(gong)(gong)(gong)(gong)(gong)藝尺寸及形(xing)位公差, 即使(shi)分(fen)多序(xu)加(jia)(jia)工(gong)(gong)(gong)(gong)(gong)(gong)(gong)(gong),也較容(rong)(rong)易導(dao)致加(jia)(jia)工(gong)(gong)(gong)(gong)(gong)(gong)(gong)(gong)變(bian)形(xing),產(chan)品合(he)格率(lv)比(bi)較低(di)。若最后一(yi)序(xu)精加(jia)(jia)工(gong)(gong)(gong)(gong)(gong)(gong)(gong)(gong)用(yong)加(jia)(jia)工(gong)(gong)(gong)(gong)(gong)(gong)(gong)(gong)中(zhong)心(xin)加(jia)(jia)工(gong)(gong)(gong)(gong)(gong)(gong)(gong)(gong),在裝(zhuang)(zhuang)夾(jia)(jia)(jia)過(guo)程中(zhong)容(rong)(rong)易導(dao)致工(gong)(gong)(gong)(gong)(gong)(gong)(gong)(gong)件裝(zhuang)(zhuang)夾(jia)(jia)(jia)變(bian)形(xing),且效率(lv)低(di)下,成本較高,不適用(yong)于(yu)批量(liang)加(jia)(jia)工(gong)(gong)(gong)(gong)(gong)(gong)(gong)(gong)。無論是車削(xue)還是銑削(xue),都要進行(xing)粗(cu)、精加(jia)(jia)工(gong)(gong)(gong)(gong)(gong)(gong)(gong)(gong),需多套工(gong)(gong)(gong)(gong)(gong)(gong)(gong)(gong)裝(zhuang)(zhuang),且工(gong)(gong)(gong)(gong)(gong)(gong)(gong)(gong)裝(zhuang)(zhuang)夾(jia)(jia)(jia)具皆為手(shou)動夾(jia)(jia)(jia)緊(jin),效率(lv)低(di)下且費時、費力。
工(gong)(gong)(gong)件(jian)的加(jia)(jia)工(gong)(gong)(gong)難(nan)點(dian)在(zai)于薄壁殼體(ti)(ti)(壁厚<10mm),工(gong)(gong)(gong)件(jian)相對較大(見圖(tu)2),內腔(qiang)(qiang)為(wei)異(yi)形腔(qiang)(qiang)體(ti)(ti),毛坯為(wei)鑄件(jian)。在(zai)裝(zhuang)夾過程中容(rong)易(yi)變(bian)形,且加(jia)(jia)工(gong)(gong)(gong)端部圖(tu)樣(yang)尺(chi)(chi)寸(cun)要求嚴格,公(gong)差(cha)不易(yi)保證(zheng)(zheng)。如(ru)何做到既能(neng)控制工(gong)(gong)(gong)件(jian)在(zai)裝(zhuang)夾時的變(bian)形量,將粗(cu)、精(jing)車安排在(zai)同一工(gong)(gong)(gong)序,又能(neng)快速地實(shi)現定位和(he)夾緊,嚴格保證(zheng)(zheng)圖(tu)樣(yang)尺(chi)(chi)寸(cun)和(he)加(jia)(jia)工(gong)(gong)(gong)的穩定性,成(cheng)為(wei)工(gong)(gong)(gong)藝(yi)設計方案構思的出發點(dian)。
將工(gong)(gong)(gong)(gong)(gong)件(jian)定(ding)位(wei)于車序(xu)加(jia)(jia)工(gong)(gong)(gong)(gong)(gong),減少裝夾次數(shu),最好將粗、精車于一(yi)(yi)序(xu)加(jia)(jia)工(gong)(gong)(gong)(gong)(gong),實(shi)現工(gong)(gong)(gong)(gong)(gong)件(jian)的(de)自(zi)動裝夾,以此為出發點(dian)去(qu)設(she)計制作工(gong)(gong)(gong)(gong)(gong)藝裝備,最終設(she)計制作出符(fu)合(he)要求的(de)工(gong)(gong)(gong)(gong)(gong)裝夾具。用該(gai)工(gong)(gong)(gong)(gong)(gong)裝裝夾,粗、精車圖1所示尺寸(cun),一(yi)(yi)序(xu)完成加(jia)(jia)工(gong)(gong)(gong)(gong)(gong),然后以該(gai)序(xu)加(jia)(jia)工(gong)(gong)(gong)(gong)(gong)后的(de)子口(kou)進行(xing)定(ding)位(wei),在加(jia)(jia)工(gong)(gong)(gong)(gong)(gong)中心(xin)上加(jia)(jia)工(gong)(gong)(gong)(gong)(gong)另一(yi)(yi)端的(de)其他(ta)項(xiang)目。
該(gai)工(gong)(gong)裝通(tong)過內部多點液(ye)壓(ya)撐緊,調整液(ye)壓(ya)壓(ya)力(li),調整撐緊力(li),控(kong)制變形量,進(jin)行車序加(jia)工(gong)(gong),能夠保(bao)證產品加(jia)工(gong)(gong)圖(tu)樣(yang)要(yao)求(qiu)。加(jia)工(gong)(gong)精度高、效率高,能夠很好地滿足設(she)計要(yao)求(qiu),保(bao)證加(jia)工(gong)(gong)面工(gong)(gong)藝要(yao)求(qiu)。它可應用(yong)于所有普通(tong)數控(kong)車床(chuang),有很強(qiang)的適(shi)用(yong)性。液(ye)壓(ya)夾(jia)具結構(gou)如(ru)圖(tu)3所示。

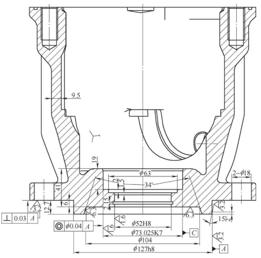
圖1 工件尺寸

圖2 加(jia)工后工件三維圖
對(dui)產品毛(mao)坯(pi)(pi)進行(xing)(xing)裝(zhuang)夾,由(you)端(duan)蓋、浮動(dong)(dong)定(ding)(ding)位(wei)板、彈簧(huang)(huang)和緊(jin)定(ding)(ding)螺釘(ding)組成浮動(dong)(dong)角向(xiang)定(ding)(ding)位(wei)裝(zhuang)置,對(dui)工(gong)(gong)件(jian)進行(xing)(xing)角向(xiang)定(ding)(ding)位(wei),毛(mao)坯(pi)(pi)下(xia)端(duan)頂(ding)(ding)靠在(zai)(zai)(zai)支(zhi)(zhi)(zhi)撐(cheng)釘(ding)上(shang),在(zai)(zai)(zai)略小(xiao)于毛(mao)坯(pi)(pi)內(nei)腔(qiang)直(zhi)徑1~2mm的(de)(de)(de)定(ding)(ding)位(wei)塊的(de)(de)(de)作(zuo)用(yong)下(xia),對(dui)工(gong)(gong)件(jian)進行(xing)(xing)粗(cu)定(ding)(ding)位(wei)。由(you)連(lian)接(jie)體、支(zhi)(zhi)(zhi)撐(cheng)體、活塞(sai)桿(gan)(gan)、O形密封(feng)圈(quan)、擋圈(quan)、頂(ding)(ding)桿(gan)(gan)和彈簧(huang)(huang)構成密封(feng)腔(qiang),在(zai)(zai)(zai)該密封(feng)腔(qiang)內(nei)充滿液壓(ya)油(you),活塞(sai)桿(gan)(gan)在(zai)(zai)(zai)卡(ka)盤驅(qu)動(dong)(dong)軸(zhou)的(de)(de)(de)推動(dong)(dong)下(xia),壓(ya)縮液壓(ya)油(you),推動(dong)(dong)頂(ding)(ding)桿(gan)(gan)向(xiang)外(wai)移動(dong)(dong),安(an)(an)裝(zhuang)在(zai)(zai)(zai)頂(ding)(ding)桿(gan)(gan)上(shang)的(de)(de)(de)支(zhi)(zhi)(zhi)撐(cheng)釘(ding)頂(ding)(ding)緊(jin)殼體內(nei)腔(qiang)壁;與此同時(shi),心補償型標準(zhun)卡(ka)盤在(zai)(zai)(zai)卡(ka)盤驅(qu)動(dong)(dong)軸(zhou)的(de)(de)(de)推動(dong)(dong)下(xia),兩卡(ka)爪(zhua)進行(xing)(xing)自定(ding)(ding)心對(dui)工(gong)(gong)件(jian)夾緊(jin),為減(jian)少夾持(chi)(chi)變形,在(zai)(zai)(zai)夾緊(jin)爪(zhua)上(shang)安(an)(an)裝(zhuang)可更換齒塊,減(jian)少與毛(mao)坯(pi)(pi)的(de)(de)(de)接(jie)觸面。在(zai)(zai)(zai)頂(ding)(ding)桿(gan)(gan)和夾緊(jin)爪(zhua)的(de)(de)(de)共同作(zuo)用(yong)下(xia),夾具對(dui)毛(mao)坯(pi)(pi)進行(xing)(xing)圓心定(ding)(ding)位(wei)和夾緊(jin)。加(jia)工(gong)(gong)完(wan)成后(hou),機床主(zhu)軸(zhou)帶動(dong)(dong)卡(ka)盤驅(qu)動(dong)(dong)軸(zhou)回拉(la),夾緊(jin)爪(zhua)回收,放(fang)松對(dui)工(gong)(gong)件(jian)的(de)(de)(de)夾持(chi)(chi),活塞(sai)桿(gan)(gan)在(zai)(zai)(zai)矩形彈簧(huang)(huang)的(de)(de)(de)作(zuo)用(yong)下(xia)進行(xing)(xing)復位(wei),伴(ban)隨腔(qiang)內(nei)油(you)壓(ya)降(jiang)低,在(zai)(zai)(zai)彈簧(huang)(huang)的(de)(de)(de)作(zuo)用(yong)下(xia),頂(ding)(ding)桿(gan)(gan)縮回,將工(gong)(gong)件(jian)從夾具上(shang)取下(xia),完(wan)成工(gong)(gong)件(jian)的(de)(de)(de)裝(zhuang)卸。
在夾緊和松(song)開的(de)整個過程中(zhong),均是(shi)通過液壓驅動自(zi)動裝(zhuang)(zhuang)夾,實現(xian)了(le)自(zi)動裝(zhuang)(zhuang)卸。實物(wu)如圖(tu)4所示。
而這些數(shu)據(ju)卻為新技術的(de)應用提供了豐富的(de)原始(shi)素材(cai),通(tong)過(guo)對海(hai)量(liang)數(shu)據(ju)的(de)整(zheng)理和(he)學(xue)習,從數(shu)據(ju)延伸為模型,進而形成(cheng)病蟲害自動識(shi)別、統計分(fen)析(xi)(xi)、可視化趨勢、預(yu)測預(yu)報等功能系統,最終實(shi)現對病蟲害的(de)智能化分(fen)析(xi)(xi)和(he)精準預(yu)測,徹底(di)實(shi)現科學(xue)、綠色防(fang)控,為宏觀決策提供科學(xue)依(yi)據(ju)。
該工(gong)(gong)藝裝(zhuang)備(bei)(bei)應(ying)注意的(de)事項主(zhu)要為液(ye)壓(ya)(ya)(ya)夾(jia)(jia)緊(jin)力(li)(li)的(de)調(diao)(diao)試。心補償型(xing)標(biao)準(zhun)(zhun)卡盤(pan)安(an)裝(zhuang)在設備(bei)(bei)主(zhu)軸(zhou)上(shang),通(tong)過(guo)心補償型(xing)標(biao)準(zhun)(zhun)卡盤(pan)上(shang)的(de)卡盤(pan)驅動(dong)軸(zhou)與設備(bei)(bei)主(zhu)軸(zhou)液(ye)壓(ya)(ya)(ya)缸連接在一起(qi),機床提供液(ye)壓(ya)(ya)(ya)力(li)(li),推拉卡盤(pan)驅動(dong)軸(zhou),從而(er)使過(guo)渡爪進行(xing)移動(dong),通(tong)過(guo)上(shang)述(shu)夾(jia)(jia)緊(jin)原理進行(xing)裝(zhuang)夾(jia)(jia)和松開。為防(fang)止(zhi)工(gong)(gong)件(jian)裝(zhuang)夾(jia)(jia)變形(xing),可適時(shi)調(diao)(diao)整卡盤(pan)液(ye)壓(ya)(ya)(ya)夾(jia)(jia)緊(jin)力(li)(li)。經過(guo)多次調(diao)(diao)試液(ye)壓(ya)(ya)(ya)夾(jia)(jia)緊(jin)力(li)(li),最(zui)終將夾(jia)(jia)緊(jin)力(li)(li)調(diao)(diao)整在0.8~1.0MPa范圍內(nei),能保(bao)證工(gong)(gong)件(jian)裝(zhuang)夾(jia)(jia)不(bu)變形(xing)或加工(gong)(gong)后工(gong)(gong)件(jian)變形(xing)小,各項尺寸和形(xing)位公差均控(kong)制在圖(tu)樣要求范圍內(nei)。
賽努(nu)奇人(ren)物畫(hua)收(shou)藏趣(qu)味(wei)(wei)傾向的(de)(de)(de)形成與(yu)賽努(nu)奇本(ben)人(ren)以及整個歐洲所(suo)具(ju)有(you)的(de)(de)(de)西(xi)方(fang)文(wen)(wen)化(hua)基因與(yu)背景密切(qie)相關,他(ta)們對中(zhong)國繪畫(hua)所(suo)體現的(de)(de)(de)中(zhong)國文(wen)(wen)化(hua)、歷史內容更感興趣(qu),收(shou)藏的(de)(de)(de)趣(qu)味(wei)(wei)正是以“他(ta)者”的(de)(de)(de)眼光來(lai)觀照(zhao)中(zhong)國文(wen)(wen)化(hua)的(de)(de)(de)結(jie)果。繪畫(hua)在西(xi)方(fang)漢學家(jia)與(yu)收(shou)藏家(jia)的(de)(de)(de)眼中(zhong)更多的(de)(de)(de)是歷史文(wen)(wen)化(hua)的(de)(de)(de)窗口,滿足他(ta)們對異(yi)域異(yi)質文(wen)(wen)化(hua)的(de)(de)(de)向往與(yu)探求(qiu)之心。就賽努(nu)奇所(suo)藏人(ren)物畫(hua)所(suo)反映的(de)(de)(de)趣(qu)味(wei)(wei)來(lai)看,其所(suo)體現的(de)(de)(de)情(qing)節(jie)性和(he)(he)東方(fang)文(wen)(wen)化(hua)的(de)(de)(de)內涵,正是西(xi)方(fang)以同構的(de)(de)(de)方(fang)式來(lai)了解和(he)(he)認(ren)識(shi)中(zhong)國文(wen)(wen)化(hua)的(de)(de)(de)表現。
由于(yu)本設計采用(yong)新結構(gou),優化了(le)整個夾(jia)(jia)具結構(gou),使(shi)加工(gong)工(gong)藝(yi)得到很大的(de)改善。應用(yong)該夾(jia)(jia)具裝(zhuang)夾(jia)(jia),事實證(zheng)明可大大提高加工(gong)工(gong)件的(de)形狀和位置精度以(yi)及(ji)尺寸穩定性,大大提高工(gong)件的(de)合(he)格率。并(bing)且自動(dong)化裝(zhuang)夾(jia)(jia)起(qi)到了(le)省力(li)、節約(yue)時(shi)間的(de)效果。
該夾(jia)(jia)(jia)具(ju)(ju)方案為(wei)以后的夾(jia)(jia)(jia)具(ju)(ju)設計提供了(le)一(yi)種(zhong)新(xin)的思(si)路,通過(guo)簡易的設計結(jie)構(gou),實現快捷(jie)的自(zi)動夾(jia)(jia)(jia)緊(jin),其低投入(ru)成本和夾(jia)(jia)(jia)具(ju)(ju)加工(gong)的便捷(jie)性,為(wei)后續(xu)工(gong)裝夾(jia)(jia)(jia)具(ju)(ju)的設計提供 了(le)全新(xin)的參考。
(9)人類(lei)工程活動指標(biao)。貫穿(chuan)全區的公路(lu)等交通(tong)設(she)施,對(dui)災害影(ying)響較大,最(zui)能代(dai)表人類(lei)工程活動。所以人類(lei)工程活動的量化(hua)是將(jiang)公路(lu)設(she)施經(jing)柵格化(hua)和(he)歸(gui)一(yi)化(hua)處理后,參與評(ping)價(圖3i)。
參(can)考文獻:
[1] 楊叔子.機械(xie)(xie)加(jia)工工藝(yi)師手冊[M].北京:機械(xie)(xie)工業出版社,2001.

圖3 液壓夾具結構
1.浮動定位(wei)塊 2.緊定螺(luo)釘(ding)(ding)(ding) 3、21.彈(dan)簧(huang) 4.端蓋 5.支(zhi)(zhi)撐塊 6.支(zhi)(zhi)撐釘(ding)(ding)(ding) 7.齒塊 8.夾緊爪(zhua) 9.支(zhi)(zhi)撐底座10.矩形彈(dan)簧(huang) 11.蓋 12.連接體(ti) 13.心補償型卡盤 14.支(zhi)(zhi)撐體(ti) 15.內六(liu)角圓柱頭螺(luo)釘(ding)(ding)(ding) 16.過(guo)渡爪(zhua) 17.O型圈18.擋圈 19.活塞(sai)桿 20.頂(ding)桿 22.密(mi)封(feng)圈 23.產品毛坯

圖4 夾具及裝夾