1展開方(fang)(fang)式要合理(li),盡可能減少不必要的工(gong)(gong)序(xu)及加(jia)工(gong)(gong)的方(fang)(fang)便(bian)性.考慮實際加(jia)工(gong)(gong)工(gong)(gong)藝,合理(li)安排加(jia)工(gong)(gong)工(gong)(gong)序(xu),(孔與折邊距(ju)離,壓鉚加(jia)工(gong)(gong)工(gong)(gong)藝,焊接(jie)加(jia)工(gong)(gong)工(gong)(gong)藝等,以上情形要考慮加(jia)工(gong)(gong)順(shun)序(xu)的安排)
2合理選擇間隙(xi)及包(bao)邊方式
間隙(xi)及(ji)包邊方(fang)式的選擇一(yi)般(ban)原則為(wei):長邊包短邊,間隙(xi)根據板厚不同(tong)取(qu)值不同(tong),一(yi)般(ban)為(wei)0.2~1.0mm.
3必須合理考慮公差,
圖面(mian)公(gong)差(cha)標(biao)注有如下(xia)幾種:
A±a(公(gong)差(cha)不考慮(lv)),A0+a (不噴涂件(jian),氧化件(jian)不須考慮(lv)走公(gong)差(cha),噴涂件(jian)必需考慮(lv)走公(gong)差(cha)),A0-a(必須走公(gong)差(cha)),A+a-a(走平均公(gong)差(cha))
4對于門板類及盒(he)體必須考慮毛刺方向(xiang)
對于該類零(ling)(ling)件的展開(kai),必須要(yao)考慮毛刺,達(da)到折彎后毛刺向里,對于一些(xie)大門(men)板類零(ling)(ling)件設計時如未考慮烤漆掉(diao)掛工藝(yi)孔,而該零(ling)(ling)件又無(wu)其(qi)他孔,在(zai)展開(kai)時考慮加開(kai)掉(diao)掛工藝(yi)孔.
5抽牙(ya),壓(ya)鉚,沖(chong)凸(tu),撕裂等位(wei)置(zhi)方(fang)向必(bi)須明確,畫(hua)出剖面圖,
6.對于圖面(mian)上(shang)不(bu)(bu)同(tong)(tong)孔徑(jing)的(de)孔為了(le)加(jia)以區別應(ying)該在圖面(mian)上(shang)用字(zi)母分別標識,不(bu)(bu)同(tong)(tong)孔徑(jing)采用不(bu)(bu)同(tong)(tong)的(de)字(zi)母,
7必須選擇合理(li)的刀(dao)具
8考慮烤漆及噴粉膜(mo)厚.
9尺寸標注規范化,齊全,清楚,壓鉚類(lei)標注需統一規范化.
尺(chi)寸(cun)標(biao)(biao)注(zhu)規范化:在任一圖面(mian)繪制好尺(chi)寸(cun)標(biao)(biao)注(zhu)前都(dou)要(yao)對尺(chi)寸(cun)標(biao)(biao)注(zhu)比例進(jin)行設置,設置公式為AXP=1(A>0,P>0.P為設置值(zhi)既(ji)overall scale值(zhi)為P),尺(chi)寸(cun)文本字高為3.
10材質,板厚要與(yu)表達方式(shi)相結合
11選擇合(he)適的圖紙幅面.
12.特殊角度折彎系數及內R角變化要試(shi)驗(yan)確定.
13部(bu)分尺寸較多的(de)地方可畫出(chu)放(fang)大圖以便清楚表達.
14.易出錯的地方需重點提(ti)示,如(ru)不對(dui)稱(cheng)零件可在展開(kai)圖上畫(hua)出折(zhe)彎示意.
15對于需保護的地方要加以表示.
16拉絲件(jian)要(yao)標明拉絲方向(xiang).
17.所有折彎(wan)示(shi)(shi)意圖(tu)按標準一視角放置(即按我們(men)的(de)新圖(tu)框)毛刺面(mian)(mian)向里,不要(yao)因為放不下而改變放置位置, 可適(shi)當調節比例和(he)選擇圖(tu)框,使得整幅圖(tu)面(mian)(mian)的(de)排版美觀,整潔.所有折彎(wan)示(shi)(shi)意圖(tu)不可相交.



18.標注尺寸時尺寸線要整齊,統一. 尺寸線(xian)的尺寸基線(xian)點應(ying)標在(zai)圖(tu)形的端點,以免造成現(xian)場識圖(tu)錯誤.

上圖(tu)中(zhong)的a很明了,清(qing)楚的表(biao)達了實際(ji)的圖(tu)形(xing)(xing),而b中(zhong)的尺寸基(ji)線點(dian)沒在圖(tu)形(xing)(xing)的端點(dian),容易造成B區的圖(tu)形(xing)(xing)不清(qing)楚.尺寸線也不整齊.
19.碰到(dao)有些特征較(jiao)多的(de)圖(tu)(tu)形,尺寸線會比(bi)較(jiao)密(mi)集,這種情況下最好換用大的(de)圖(tu)(tu)框(A3的(de)圖(tu)(tu)框)

20.折(zhe)彎(wan)(wan)示意圖尺寸(cun)的(de)標注(zhu)要統一,不要內(nei)外兼標,特別是同一樣的(de)折(zhe)彎(wan)(wan)長度,不要縱向標內(nei),橫(heng)向又標外,這樣容易造成(cheng)現場識(shi)圖錯誤,所(suo)有規則(ze)90°角的(de)折(zhe)彎(wan)(wan)尺寸(cun)標注(zhu)外尺寸(cun),不規則(ze)角標內(nei)尺寸(cun).

21.有些(xie)折彎(wan)(wan)邊上的(de)特征離折彎(wan)(wan)邊太近,為(wei)了(le)避免(mian)它們(下圖為(wei)方(fang)框)不變形,而改槽(cao)或別的(de)工(gong)藝都(dou)不理想的(de)情況下也可以(yi)適當的(de)開釋放(fang)(fang)槽(cao)以(yi)減小應力,釋放(fang)(fang)槽(cao)開放(fang)(fang)的(de)位置是內(nei)折彎(wan)(wan)尺(chi)寸(cun)線上,釋放(fang)(fang)槽(cao)的(de)大小依實(shi)際(ji)情況而定(ding),當然是越(yue)小越(yue)好,以(yi)免(mian)影(ying)響美(mei)觀.

如上圖,釋(shi)放槽的(de)長度(du)(du)可以為c,h可為鐳射割線的(de)寬度(du)(du)
22.工藝孔(kong)的(de)開立
為(wei)了(le)考慮零件(jian)的(de)外觀,使得(de)折(zhe)彎邊相交的(de)地方不(bu)出現(xian)擠(ji)料,多料的(de)情況,工藝(yi)孔(kong)是(shi)很(hen)重(zhong)要的(de),
1).以最常見的(de)長邊(bian)包(bao)短(duan)邊(bian)形(xing)(xing)式加以說明,工藝孔(kong)的(de)形(xing)(xing)狀一(yi)般為圓(yuan)孔(kong)和方(fang)孔(kong),大小為板厚(hou)的(de)1.5倍(當(dang)然盡量選用已有刀具),位置是在包(bao)邊(bian)上,如(ru)下圖(圓(yuan)孔(kong)的(de)例子),注:c的(de)尺寸也(ye)是很重要的(de),一(yi)般為:c≥B+T(板厚(hou))-α(折(zhe)彎系數(shu))+間(jian)隙
( 0.2~1.0mm).

eg: 板厚(hou)T=1.5 A邊包B邊, 則:工藝孔的位置為a=0.5, b=0.5, 大(da)小為Φ2.5, Φ2.0也可(ke)以(yi).(一(yi)定(ding)要(yao)大(da)于板厚(hou)) 2).對(dui)接的情況開(kai)在交點上即(ji)可(ke), eg:板厚(hou)T=1.5 , 則工藝孔的位置是:a=0, b=0, 大(da)小為Φ2.5,Φ2.0也可(ke)以(yi).
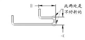
23.圖(tu)中的兩處折彎有待(dai)用現場刀具(ju)去試驗確定,多數是無(wu)法折彎的,這種情(qing)況下只能考慮開模或(huo)別的加工.

24.改(gai)槽(cao)的工藝

1) 當某(mou)些(xie)特(te)(te)征離折彎邊太近時,會(hui)造成(cheng)這些(xie)特(te)(te)征變形(xing)(xing),所以(yi)采用(yong)改小槽(cao)的形(xing)(xing)式可(ke)以(yi)緩解變形(xing)(xing)或(huo)者用(yong)標準槽(cao)折彎然后
再增加擴孔(kong)工(gong)序,當(dang)(dang)然(ran)能(neng)改(gai)小(xiao)槽避免(mian)變(bian)形的(de)就不要增加擴孔(kong)工(gong)序(注(zhu):如果同一(yi)個零件有(you)多刀改(gai)小(xiao)槽時(shi),盡量改(gai)用同一(yi)種小(xiao)槽折彎(wan)(wan),這樣可以減少現場(chang)的(de)操作(zuo)時(shi)間(jian)).eg:在上圖中(zhong),當(dang)(dang)L≤1/2V+0.5時(shi), 需(xu)改(gai)小(xiao)槽折彎(wan)(wan),V為(wei)標準(zhun)槽寬(6T). 改(gai)小(xiao)槽時(shi)還需(xu)注(zhu)意一(yi)下系(xi)數(shu)的(de)變(bian)動,一(yi)般是槽寬改(gai)小(xiao)1V,系(xi)數(shu)則由標準(zhun)槽的(de)系(xi)數(shu)減0.1,改(gai)小(xiao)2V,則系(xi)數(shu)由標準(zhun)槽的(de)系(xi)數(shu)減0.2.以此類推,一(yi)般只能(neng)改(gai)到4倍的(de)板厚(hou),當(dang)(dang)然(ran)不包括特殊情(qing)況.

2) 當H≤1/2V時, 需要改小槽折彎或加長折彎尺寸(cun)然(ran)后(hou)再銑(xian)到所需的A 尺寸(cun)(盡(jin)量少(shao)用(yong)加銑(xian)的工(gong)序因為這樣太麻
煩(fan)又增加成本(ben)),V為標準槽寬(6T).
25.所有(you)需下料(liao)的圖形均統(tong)一放在零層,用(yong)白線(xian)表示出(chu)來,以(yi)便(bian)編程人員區分,如果想便(bian)于我們自已繪制區分的話,可以(yi)用(yong)不(bu)同顏(yan)色的字母表示
26.遇到(dao)組焊及需要(yao)拆分的(de)零件展開時,要(yao)重視開定位孔(方孔,圓孔)都可以,這(zhe)樣(yang)便于現場制作,也(ye)保(bao)證了產品的(de)尺寸(cun)和質(zhi)量.
27.展開(kai)的(de)最(zui)大尺寸不(bu)能大于(yu)板(ban)(ban)(ban)(ban)材(cai)的(de)長寬,不(bu)要展出來(lai)的(de)圖形比(bi)(bi)板(ban)(ban)(ban)(ban)材(cai)還大,如果碰(peng)到(dao)比(bi)(bi)板(ban)(ban)(ban)(ban)材(cai)大的(de)圖形,則要與(yu)工程師討論,拆開(kai),然后再焊(han)接在一起,板(ban)(ban)(ban)(ban)材(cai)的(de)規格包(bao)材(cai)倉庫有.
28.需要下料(liao)的圖形不允許有斷線,重線.