內燃機車增壓(ya)(ya)(ya)器(qi)(qi)是(shi)(shi)機車的(de)(de)核(he)心部(bu)(bu)件,增壓(ya)(ya)(ya)器(qi)(qi)在(zai)(zai)(zai)工(gong)(gong)作(zuo)時(shi),其轉(zhuan)(zhuan)子(zi)(zi)的(de)(de)轉(zhuan)(zhuan)速(su)在(zai)(zai)(zai)30 000~40 000 r/min,而增壓(ya)(ya)(ya)器(qi)(qi)核(he)心部(bu)(bu)件是(shi)(shi)其轉(zhuan)(zhuan)子(zi)(zi)部(bu)(bu)分,主(zhu)(zhu)(zhu)(zhu)要(yao)由主(zhu)(zhu)(zhu)(zhu)軸(zhou)、輪盤葉片、軸(zhou)承套、葉輪和主(zhu)(zhu)(zhu)(zhu)軸(zhou)螺(luo)(luo)(luo)母(見(jian)圖1)等部(bu)(bu)分組成,因高溫、高轉(zhuan)(zhuan)速(su)的(de)(de)工(gong)(gong)況,對其轉(zhuan)(zhuan)子(zi)(zi)部(bu)(bu)件的(de)(de)加(jia)(jia)工(gong)(gong)精度(du)(du)要(yao)求也非常高,其中主(zhu)(zhu)(zhu)(zhu)軸(zhou)螺(luo)(luo)(luo)母是(shi)(shi)主(zhu)(zhu)(zhu)(zhu)軸(zhou)和葉輪鎖緊(jin)定(ding)位的(de)(de)部(bu)(bu)件,緊(jin)固時(shi)其端面會受到很(hen)大壓(ya)(ya)(ya)力,如果端面相對于(yu)(yu)螺(luo)(luo)(luo)紋(wen)垂直度(du)(du)不(bu)好,就意味著緊(jin)固時(shi)主(zhu)(zhu)(zhu)(zhu)軸(zhou)螺(luo)(luo)(luo)母端面和被聯接的(de)(de)葉輪面接觸不(bu)均勻,容易在(zai)(zai)(zai)主(zhu)(zhu)(zhu)(zhu)軸(zhou)螺(luo)(luo)(luo)紋(wen)頭部(bu)(bu)形成附加(jia)(jia)彎矩,這對于(yu)(yu)主(zhu)(zhu)(zhu)(zhu)軸(zhou)疲勞強(qiang)度(du)(du)有很(hen)大影響,甚至會導致主(zhu)(zhu)(zhu)(zhu)軸(zhou)螺(luo)(luo)(luo)紋(wen)“掉頭”的(de)(de)質量(liang)事故發(fa)生,在(zai)(zai)(zai)增壓(ya)(ya)(ya)器(qi)(qi)轉(zhuan)(zhuan)子(zi)(zi)高速(su)旋轉(zhuan)(zhuan)中也會直接影響轉(zhuan)(zhuan)子(zi)(zi)的(de)(de)動平(ping)衡穩定(ding)性。因此,主(zhu)(zhu)(zhu)(zhu)軸(zhou)螺(luo)(luo)(luo)母的(de)(de)設計圖樣對于(yu)(yu)其端面相對于(yu)(yu)螺(luo)(luo)(luo)紋(wen)的(de)(de)垂直度(du)(du)嚴格要(yao)求,因主(zhu)(zhu)(zhu)(zhu)軸(zhou)螺(luo)(luo)(luo)母的(de)(de)螺(luo)(luo)(luo)紋(wen)形狀復雜特殊,螺(luo)(luo)(luo)紋(wen)又在(zai)(zai)(zai)主(zhu)(zhu)(zhu)(zhu)軸(zhou)螺(luo)(luo)(luo)母的(de)(de)盲(mang)孔中,螺(luo)(luo)(luo)紋(wen)的(de)(de)檢測(ce)比較難,國外有專業(ye)的(de)(de)螺(luo)(luo)(luo)紋(wen)測(ce)量(liang)技術公司推出不(bu)少專業(ye)的(de)(de)螺(luo)(luo)(luo)紋(wen)測(ce)量(liang)儀(yi),但(dan)能檢測(ce)盲(mang)孔內螺(luo)(luo)(luo)紋(wen)的(de)(de)裝置卻非常少,并且這些(xie)測(ce)量(liang)儀(yi)造價不(bu)菲,購(gou)置成本很(hen)高。
有(you)一(yi)些(xie)通用的(de)測(ce)(ce)量設備如三坐(zuo)標測(ce)(ce)量儀(yi)、光(guang)學測(ce)(ce)量儀(yi)也(ye)有(you)相關的(de)螺紋測(ce)(ce)量功能(neng),但(dan)都不(bu)夠專業且精度也(ye)不(bu)高(gao)。例如:三坐(zuo)標測(ce)(ce)量儀(yi)按理(li)論螺距沿螺旋(xuan)槽取點建立軸線,但(dan)測(ce)(ce)球探不(bu)進溝槽內(nei)部,測(ce)(ce)量精度不(bu)高(gao),檢(jian)(jian)測(ce)(ce)過程比較麻(ma)煩。光(guang)學測(ce)(ce)量機一(yi)般用于兩頭帶中心孔的(de)軸類零件的(de)檢(jian)(jian)測(ce)(ce),對主(zhu)軸螺母的(de)內(nei)螺紋無法(fa)(fa)形(xing)成(cheng)投(tou)影,也(ye)就(jiu)無法(fa)(fa)檢(jian)(jian)測(ce)(ce)。

圖 1
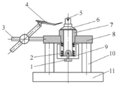
機車(che)增壓器主軸螺(luo)母(mu)盲孔螺(luo)紋垂直度檢(jian)(jian)測(ce)裝(zhuang)置如圖2所示,這種新型檢(jian)(jian)測(ce)裝(zhuang)置具(ju)有結(jie)構(gou)簡(jian)單、成(cheng)本低、操作簡(jian)單、檢(jian)(jian)測(ce)效(xiao)率高(gao)及檢(jian)(jian)測(ce)精度高(gao)的特點(dian),解決了機車(che)增壓器主軸螺(luo)母(mu)盲孔螺(luo)紋垂直度無法檢(jian)(jian)測(ce)的問題。
電化學方法(fa)乳液聚合甲(jia)(jia)基丙烯酸甲(jia)(jia)酯的制備和表征······································張劍(jian)秋 付凌霄 陳 龍 張勝(sheng)佳(jia) (6,925)


圖 2
1.防(fang)松(song)螺栓 2.壓簧 3.測表支架4.杠桿千分表 5.頂珠 6.旋轉(zhuan)軸 7.基(ji)(ji)套8.基(ji)(ji)座 9.鎖緊(jin)螺母 10.支撐(cheng)柱11.底板 12.主軸螺母
該裝置(zhi)使(shi)用方法(fa)是將(jiang)主(zhu)軸(zhou)(zhou)(zhou)螺(luo)(luo)(luo)母(mu)擰(ning)緊(jin)到旋(xuan)轉(zhuan)軸(zhou)(zhou)(zhou)上端(duan)螺(luo)(luo)(luo)紋(wen),利用頂(ding)珠頂(ding)到主(zhu)軸(zhou)(zhou)(zhou)螺(luo)(luo)(luo)母(mu)盲孔底面中心位置(zhi),保(bao)證主(zhu)軸(zhou)(zhou)(zhou)螺(luo)(luo)(luo)母(mu)的(de)(de)(de)螺(luo)(luo)(luo)紋(wen)與(yu)檢測裝置(zhi)旋(xuan)轉(zhuan)軸(zhou)(zhou)(zhou)螺(luo)(luo)(luo)紋(wen)保(bao)持(chi)自由鎖(suo)緊(jin)狀(zhuang)態,調整測表支架保(bao)證杠桿千(qian)分(fen)(fen)表的(de)(de)(de)測針與(yu)主(zhu)軸(zhou)(zhou)(zhou)螺(luo)(luo)(luo)母(mu)的(de)(de)(de)被(bei)測端(duan)面接觸(chu)(chu),并(bing)使(shi)測針壓(ya)緊(jin)0.1~0.2mm,然后旋(xuan)轉(zhuan)鎖(suo)緊(jin)螺(luo)(luo)(luo)母(mu)帶動(dong)(dong)(dong)(dong)旋(xuan)轉(zhuan)軸(zhou)(zhou)(zhou)轉(zhuan)動(dong)(dong)(dong)(dong),其中壓(ya)簧保(bao)證了基套與(yu)旋(xuan)轉(zhuan)軸(zhou)(zhou)(zhou)的(de)(de)(de)軸(zhou)(zhou)(zhou)肩保(bao)持(chi)緊(jin)密接觸(chu)(chu)、軸(zhou)(zhou)(zhou)向無竄(cuan)動(dong)(dong)(dong)(dong),此時旋(xuan)轉(zhuan)360°,杠桿千(qian)分(fen)(fen)表所(suo)顯示的(de)(de)(de)變化量就可(ke)以測量出主(zhu)軸(zhou)(zhou)(zhou)螺(luo)(luo)(luo)母(mu)端(duan)面跳動(dong)(dong)(dong)(dong),由于(yu)主(zhu)軸(zhou)(zhou)(zhou)螺(luo)(luo)(luo)母(mu)端(duan)面是環帶,跳動(dong)(dong)(dong)(dong)近似等于(yu)垂直度,經(jing)計算驗證誤差(cha)小于(yu)0.005mm,可(ke)以直接作為主(zhu)軸(zhou)(zhou)(zhou)螺(luo)(luo)(luo)母(mu)的(de)(de)(de)螺(luo)(luo)(luo)紋(wen)軸(zhou)(zhou)(zhou)線與(yu)端(duan)面的(de)(de)(de)垂直度使(shi)用。
檢測(ce)裝置部件(jian)加工注(zhu)意事項如下:
計(ji)算出最鄰近指(zhi)(zhi)數,地(di)理(li)集中指(zhi)(zhi)數,基尼系數和(he)不平(ping)衡指(zhi)(zhi)數,采用ArcGIS10.3空(kong)(kong)間(jian)分析(xi)工具的功能和(he)Eexcel統計(ji)軟(ruan)件(jian)分析(xi)了(le)新疆A級旅游景(jing)區的空(kong)(kong)間(jian)分布的特征。
(1)基(ji)套的上端面(mian)與內(nei)孔保證垂直度(du)0.005mm以內(nei),表面(mian)粗糙度(du)值Ra<0.8μm。
(2)旋轉(zhuan)軸(zhou)的軸(zhou)肩和外圓部位保證垂直度(du)0.005mm以(yi)內(nei),表面粗糙度(du)值Ra<0.8μm,旋轉(zhuan)軸(zhou)應采(cai)用雙頂尖磨削加工,并保留(liu)上(shang)端(duan)中心孔完好。
(3)頂珠(zhu)選用(yong)8mm精度G10以上的(de)鋼(gang)珠(zhu),檢(jian)測時(shi)頂珠(zhu)放(fang)于旋轉(zhuan)軸上端中心孔內,保證(zheng)頂珠(zhu)高于旋轉(zhuan)軸上端面。
(4)基套(tao)與旋轉軸采用間隙配合,配合間隙保證在0.01~0.02mm。
采用直(zhi)接在家具(ju)成品上測試時,要(yao)(yao)選(xuan)取(qu)家具(ju)中的主要(yao)(yao)面(mian)層,要(yao)(yao)求(qiu)可檢測面(mian)部位表面(mian)平整,無鼓泡、劃痕、褪色、皺(zhou)皮(pi)等缺陷。
機車(che)增壓器(qi)(qi)主(zhu)(zhu)軸盲孔(kong)螺母(mu)螺紋垂(chui)直度檢(jian)(jian)測裝置(zhi)(zhi)具有(you)結構(gou)簡(jian)單(dan)、成本低、操作簡(jian)單(dan)、檢(jian)(jian)測效率高(gao)(gao)及(ji)檢(jian)(jian)測精(jing)度高(gao)(gao)的優點,利用(yong)頂(ding)珠(zhu)頂(ding)到主(zhu)(zhu)軸螺母(mu)盲孔(kong)底面(mian)中心(xin)位(wei)置(zhi)(zhi),保證主(zhu)(zhu)軸螺母(mu)的螺紋與檢(jian)(jian)測裝置(zhi)(zhi)旋轉(zhuan)軸螺紋保持自由鎖緊狀態,旋轉(zhuan)一周用(yong)千分表測量。該裝置(zhi)(zhi)解(jie)決了機車(che)增壓器(qi)(qi)主(zhu)(zhu)軸螺母(mu)盲孔(kong)螺紋垂(chui)直度無法檢(jian)(jian)測的問題(ti),有(you)效降(jiang)低了機車(che)增壓器(qi)(qi)的故(gu)障率。