金屬(shu)薄(bo)(bo)壁(bi)管零(ling)件(jian)(jian)具(ju)有結(jie)構緊湊、重量輕及節省材料等特點,在生產中得到廣泛應用(yong)。由于零(ling)件(jian)(jian)壁(bi)薄(bo)(bo)、強度(du)弱、剛性差,加工中很容易(yi)變(bian)形,質量難以(yi)保證(zheng)。“變(bian)形管”是典型的(de)薄(bo)(bo)壁(bi)管件(jian)(jian),在該零(ling)件(jian)(jian)實際生產過程中,通(tong)過設計專用(yong)工裝夾(jia)具(ju),制訂合理(li)可行的(de)加工工藝等措施(shi),以(yi)減(jian)少(shao)加工中的(de)變(bian)形,保證(zheng)工件(jian)(jian)加工質量,提高加工效率。
壁(bi)(bi)薄(bo)是薄(bo)壁(bi)(bi)管(guan)零件(jian)的突出(chu)特點,一般(ban)采用數(shu)控車削(xue)的方(fang)式對其進行(xing)加(jia)(jia)工(gong)(gong),影響薄(bo)壁(bi)(bi)管(guan)零件(jian)加(jia)(jia)工(gong)(gong)精度(du)的因素很多(duo),歸納起來主要(yao)有(you)以下幾(ji)個方(fang)面(mian):
(1) 受熱變形。工件加工過程中會產生大量的切削熱,導致工件產生熱變形,使其尺寸精度難于控制。因此,車削加工時要控制切削溫度,減小切削變形以減少切削熱的產生,同時增大刀尖散熱面積,充分使用冷卻液,將切削熱及時擴散[1]。
(2) 振動變形(xing)。工件(jian)(jian)在切削(xue)力(主要是徑(jing)向切削(xue)力)作用(yong)(yong)下易(yi)產(chan)生振動變形(xing),影響工件(jian)(jian)的(de)尺(chi)寸和位置精度以及表(biao)面(mian)粗糙度。為(wei)減(jian)小振動變形(xing),應提高工件(jian)(jian)和刀具的(de)剛度,如減(jian)少刀具懸伸長(chang)度、增大刀桿(gan)截面(mian)積等,同時選用(yong)(yong)剛性(xing)好、功率大的(de)機床(chuang)。
(3) 受(shou)力變形。零件由于壁薄(bo),在夾緊(jin)力作用下容易(yi)產生變形,影響工件尺寸和形狀精度(du)。
針(zhen)對(dui)以(yi)上影響因(yin)素(su),筆者(zhe)將通過變形管的具體加(jia)工(gong)實例來(lai)分析提高(gao)薄壁管零件加(jia)工(gong)精度和效率的措施。
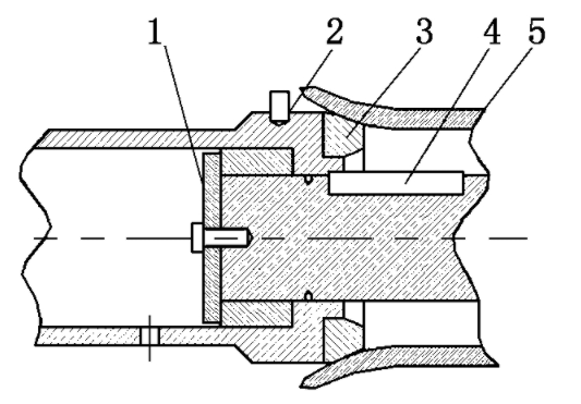
2.1 變(bian)形(xing)管的作(zuo)用及(ji)工(gong)作(zuo)原理
目前動車及城鐵的緩沖器廣泛采用變形管與橡膠緩沖器相結合的結構形式,以此來保證列車在正常牽引制動工況下的能量吸收。變形緩沖裝置結構示意圖如圖1所示。變形管5是機車車鉤壓潰緩沖裝置重要的安全零件,是一種破壞性的能量吸收元件,安裝在中間車導向桿上,在管口部位安裝一個加壓塊3,通過對管子擴口的變形來吸收能量。一般變形管配合橡膠緩沖器一起使用,列車正常聯掛時,沖擊能量由橡膠緩沖器吸收,變形管不起作用,只有在高速度的沖擊時變形管變形,管體壓潰,吸收撞擊能量,產生軸向移動,并觸碰動作指示釘2,才能有效降低列車的縱向沖擊,保證車底架不產生永久變形,提高列車的運行性能。圖1所示緩沖器要求變形管強度精確控制在一較小的范圍內,理論上變形力在全行程應保持一個恒定值[2],因此對變形管的材(cai)料(liao)、形狀(zhuang)和尺寸精度要(yao)求很高。

1-防(fang)松板(ban);2-動作(zuo)指示釘;3-加壓塊;4-導(dao)向鍵;5-變(bian)形管
圖(tu)1 變形緩沖裝置結構示意(yi)圖(tu)
2.2 變形(xing)管零件結構分析(xi)
變形管零件圖如圖2所示。其主要加工表面及技術要求是:①外圓面:直徑為Φ103 mm,表面粗糙度為Ra3.2 μm,可微見加工痕跡,需要精車實現;②內孔面:直徑為Φ95 mm,表面粗糙度為Ra3.2 μm,粗車后再精車,未注圓角R0.5;③加工尺(chi)寸(cun)未注(zhu)公(gong)差(cha)按照GB/T 1804-2000《一般(ban)公(gong)差(cha) 未注(zhu)公(gong)差(cha)的(de)線性和(he)角(jiao)度尺(chi)寸(cun)公(gong)差(cha)》中的(de)m級執行(xing);④Ⅰ類零件,整體磁粉探傷,不允(yun)許有(you)裂紋和(he)工藝缺陷(xian)。
從零(ling)件(jian)(jian)圖和技術要求來看,此零(ling)件(jian)(jian)為(wei)典型(xing)的薄壁管(guan)零(ling)件(jian)(jian),加(jia)工(gong)時必然(ran)會遇到(dao)薄壁管(guan)共同(tong)的加(jia)工(gong)問(wen)題。綜合考慮,為(wei)減少工(gong)件(jian)(jian)加(jia)工(gong)變(bian)形,使(shi)(shi)工(gong)件(jian)(jian)裝拆方(fang)便,避免工(gong)件(jian)(jian)振動刀具(ju)崩刃,有(you)必要設(she)(she)計和制作一(yi)專用(yong)夾(jia)具(ju),使(shi)(shi)工(gong)件(jian)(jian)定位快捷(jie)準確。夾(jia)具(ju)設(she)(she)計力求結構簡(jian)單通用(yong),制造方(fang)便。

圖2 變形管零件圖
3.1 工裝夾具的設(she)計原則
(1) 夾具應有足夠的強度和剛度。工件加工過程中,夾具體要承受較大的切削力和夾緊力[3]。夾具體(ti)需有一定的壁厚,所以(yi)要對夾具體(ti)的強(qiang)度和剛度進行校核,保證可以(yi)加工出合格的變形管零件(jian)。
(2) 在機(ji)床上安裝穩(wen)定(ding)(ding)可靠。夾(jia)(jia)具在機(ji)床主軸上安裝,夾(jia)(jia)具安裝基面(mian)(mian)與(yu)主軸相應(ying)表面(mian)(mian)應(ying)有較高的(de)(de)配合精度,并保(bao)(bao)證(zheng)夾(jia)(jia)具體安裝穩(wen)定(ding)(ding)可靠。保(bao)(bao)證(zheng)工(gong)(gong)件(jian)在加工(gong)(gong)過程中位(wei)置穩(wen)定(ding)(ding)不變、震動(dong)小,減少工(gong)(gong)件(jian)夾(jia)(jia)緊(jin)(jin)變形;采用徑向(xiang)夾(jia)(jia)緊(jin)(jin),增大(da)夾(jia)(jia)具與(yu)工(gong)(gong)件(jian)的(de)(de)接觸(chu)面(mian)(mian)積(ji),零件(jian)承受(shou)徑向(xiang)夾(jia)(jia)緊(jin)(jin)力大(da)小均勻、適當(dang)。
(3) 工裝夾具(ju)通(tong)用性強,結構力(li)求簡單、操作方便,省(sheng)力(li)安全,便于制造和(he)維修(xiu)。
3.2 工裝夾(jia)具(ju)的(de)設計方(fang)案(an)
通過對零件的(de)分析,要求設計(ji)出一套既可以外夾(jia)也可以內卡的(de)專(zhuan)用(yong)(yong)夾(jia)具。當(dang)加工變形管(guan)(guan)外輪廓時,用(yong)(yong)專(zhuan)用(yong)(yong)夾(jia)具撐(cheng)持變形管(guan)(guan)內壁;當(dang)加工變形管(guan)(guan)內孔(kong)時,裝夾(jia)變形管(guan)(guan)外圓(yuan)。設計(ji)一個與(yu)內外圓(yuan)周接(jie)觸面較大的(de)夾(jia)爪,使(shi)用(yong)(yong)原有機床(chuang)上的(de)卡盤,將(jiang)夾(jia)爪安裝在卡盤上,沿用(yong)(yong)機床(chuang)本身的(de)氣壓夾(jia)緊,增(zeng)大夾(jia)具與(yu)工件的(de)接(jie)觸面積,減少變形管(guan)(guan)的(de)變形。專(zhuan)用(yong)(yong)工裝夾(jia)具的(de)使(shi)用(yong)(yong)如(ru)圖3所示。
3.3 工裝夾具主要(yao)參(can)數確(que)定
本文設計的(de)專(zhuan)用(yong)夾具(ju)(ju)以車(che)床的(de)切削(xue)力和薄壁管(guan)受力變(bian)形的(de)極限為參考標準,對夾具(ju)(ju)的(de)各項(xiang)參數進行確定(ding)。由參考文獻(xian)[4]相關內容可知,車(che)床在工作時(shi)對工件的(de)切削(xue)力由以下公式計算:
FC=9.81CFcapxFcfyFcvcnFcKFc.
(1)
其中:FC為主切削力,N;ap為背吃刀量,mm;f為進給量,mm/r;vc為主軸轉速,r/min;指數xFc、yFc、nFc和修正系數KFc及系數CFc可由文獻[4]中查表得到。由于變形管材料選用45鋼,刀具使用硬質合金刀具,可以查出CFc=270,xFc=1.0,yFc=0.73,nFc=1;取vc=800 mm/r,f=0.2 mm/r,ap=1 mm,查表得出KFc=1.06。將相關參數代入式(1),可計算出FC=670 000 N。薄壁管厚度為6 mm,管外徑為Φ142 mm,材料45鋼,破壞時的最大強度p按65.65 MPa計算,由 可得薄壁管有效受力面積S大約為10 205 mm2,設計夾具的長度為100 mm,扇形面積約為3 400 mm2,有效總角度為90°,因此每個夾具扇形角為30°,扇形內直徑為Φ130 mm,厚(hou)度可設計成20 mm。
可得薄壁管有效受力面積S大約為10 205 mm2,設計夾具的長度為100 mm,扇形面積約為3 400 mm2,有效總角度為90°,因此每個夾具扇形角為30°,扇形內直徑為Φ130 mm,厚(hou)度可設計成20 mm。

圖(tu)3 變形管的(de)加(jia)工及所使用的(de)專用夾(jia)具
設計變形管加工工藝時,應從毛坯、刀具參數、切削用量、加工工序等方面進行綜合考慮[5]。
4.1 毛坯的選擇
變形管零件大批量生產,選用Φ115×30 mm管材作(zuo)為毛(mao)坯(pi),材料45鋼。下(xia)料后(hou)首先進(jin)行加(jia)熱(re)擴(kuo)口,確(que)保各處有加(jia)工余量,按照GH-1203—2009《擴(kuo)張(zhang)式壓潰裝置驗(yan)收技術條件》的要(yao)求進(jin)行熱(re)處理,對每批(pi)次(ci)經熱(re)處理后(hou)的變(bian)形管抽樣進(jin)行變(bian)形力試驗(yan),測試結(jie)果(guo)合格后(hou)方可對該批(pi)次(ci)變(bian)形管的毛(mao)坯(pi)進(jin)行加(jia)工。
4.2 刀具的選擇
薄壁管零件在車削的過程中,合理使用刀具的幾何參數對車削時產生的熱變形、切削力的大小還有工件表面微觀質量都是非常重要的。主要考慮以下幾點的影響:①前角γ0的影響:前角增大切削力變小,切削變形和摩擦力減小,但前角過大,楔角減小,刀具強度減弱,導致刀具散熱變差,磨損加快;②后角α0的影響:刀具后角增大,刀具摩擦力變小,切削力也變小,但后角過大,會減弱刀具強度;③主偏角kr的影響(xiang):改變主(zhu)(zhu)偏角的大小可以調整徑向切削分(fen)力和(he)軸(zhou)向切削分(fen)力之間的比例,主(zhu)(zhu)偏角增大時,徑向切削分(fen)力減小,軸(zhou)向切削分(fen)力增大,車薄壁(bi)(bi)零件(jian)內外圓,一般選取較(jiao)大主(zhu)(zhu)偏角;④其他參數的影響(xiang):精車薄壁(bi)(bi)管(guan)零件(jian)時,要求刀(dao)柄剛度高(gao),車刀(dao)的修光(guang)刃不能太長,車刀(dao)刀(dao)刃一定要鋒利。
根據以上分析(xi),加工變(bian)形管選用的(de)刀具參數如下:
外圓車刀:主偏角kr為90°~93°;后角α0為14°~16°;前角γ0為10°~20°。
內孔鏜刀:主偏角kr為90°~95°;前角γ0為20°;后角α0為14°~16°。
4.3 切削用量選擇
切削用量(liang)(liang)(liang)的選擇如下:①內(nei)孔(kong)粗(cu)車(che):主軸轉(zhuan)速350 r/min~450 r/min,進(jin)(jin)給(gei)量(liang)(liang)(liang)0.1 mm/r~0.2 mm/r,留精(jing)車(che)余量(liang)(liang)(liang)0.1 mm~0.3 mm;②內(nei)孔(kong)精(jing)車(che):主軸轉(zhuan)速550 r/min~800 r/min,進(jin)(jin)給(gei)量(liang)(liang)(liang)0.05 mm/r~0.15 mm/r,采(cai)用一次走刀加工(gong)完(wan)成(cheng);③外圓(yuan)粗(cu)車(che):主軸轉(zhuan)速400 r/min~500 r/min,進(jin)(jin)給(gei)量(liang)(liang)(liang)0.2 mm/r~0.3 mm/r,留精(jing)車(che)余量(liang)(liang)(liang)0.2 mm~0.4 mm;④外圓(yuan)精(jing)車(che):
主軸(zhou)轉速700 r/min~900 r/min,進(jin)給量0.08 mm/r~0.15 mm/r,采用一次走刀加工完成。
4.4 加工(gong)工(gong)序設計
加工工序設計如下:①三爪裝夾Φ115 mm外圓(毛坯),調正,車中心架用工藝臺Φ108±0.5 mm,寬80 mm,距擴口端面55 mm;②三爪裝夾Φ115 mm外圓(yuan)(yuan),上中(zhong)心(xin)架(jia),調(diao)正(zheng)。車平端面,粗車內孔,全(quan)部(bu)見(jian)光即可;③撤中(zhong)心(xin)架(jia),三爪(zhua)撐持內孔,尾針頂緊,粗車外圓(yuan)(yuan),見(jian)光即可;④調(diao)頭(tou),夾(jia)大頭(tou)外圓(yuan)(yuan),上中(zhong)心(xin)架(jia),調(diao)正(zheng)。齊(qi)總長(chang)至尺寸;⑤調(diao)頭(tou),夾(jia)小(xiao)頭(tou)外圓(yuan)(yuan),上中(zhong)心(xin)架(jia),調(diao)正(zheng)。精車至尺寸。
經過多(duo)次試驗,筆者采用以上工(gong)藝方法和(he)設計的專用工(gong)裝夾具(ju),較(jiao)好(hao)地解決了(le)(le)薄(bo)壁零件(jian)的加(jia)(jia)工(gong)變形問題(ti),縮短了(le)(le)工(gong)件(jian)裝夾定位(wei)時間(jian),提高了(le)(le)工(gong)作效(xiao)率并保證(zheng)了(le)(le)零件(jian)加(jia)(jia)工(gong)質量,減輕了(le)(le)操(cao)作者的勞動(dong)強度,經濟效(xiao)益十分明顯(xian)。