1前 言
    離心泵是典型的高速旋轉設備機器,通過由膜片聯軸器將原動機、從動機聯接起來,有些中間需要液力偶合器等聯接。因此,對于大型高速旋轉機組其重要工作是設備轉子之間的聯接找正工作,采用傳統的打表安裝找正方法,往往要耗費大量的人力和物力。隨著科學技術的發展,近年來激光對中儀在安裝找正中使用越來來多,具有方便、快速、準確、高效等特點。 
    2激光對中儀的結構、基本原理和使用過程 
    2.1激光對中儀的結構 
    D505型激光(guang)對中(zhong)儀主要組成:激光(guang)發射器(qi)(探測器(qi))、激光(guang)反射器(qi)(接收器(qi))、1 個(ge)D 279 顯(xian)示單(dan)(dan)元(yuan)(yuan)(包含14 個(ge)測量(liang)程序)、2 套(tao)延長(chang)桿、2 個(ge)V 型安裝(zhuang)(zhuang)支架、2 套(tao)安裝(zhuang)(zhuang)鏈條、2 個(ge)磁力表(biao)座、2個(ge)偏移(yi)塊和2根帶(dai)快速接頭電(dian)纜(2m)等,如圖1所示。其中(zhong)激光(guang)發射器(qi)、激光(guang)反射器(qi)分(fen)別安裝(zhuang)(zhuang)在固定(ding)設備軸上的測量(liang)單(dan)(dan)元(yuan)(yuan)S和固定(ding)在可移(yi)動設備軸上的測量(liang)單(dan)(dan)元(yuan)(yuan)M。

圖(tu)1 激光對中儀組成部分
    2.2激光對中儀的基本原理及與原始打表找正法的對比
    激光找正儀的測量原理與傳統的單表找正法(翻轉法)原理相同,如圖2(B)所示。激光發射器陰極管內充滿氦氣和氖氣,通過高電壓激發出相應波長的光波,通過兩端透鏡和反射鏡的反復作用,只有平行于中心線的光束被發射出去,形成激光。Easy-Laser D505型激光對中儀激光接收器采用先進的PSD定位技術,在感應面的兩端加適當電壓,激光打到感應面的不同位置則會在兩端產生不同的電流,其分析的是模擬量,理論上講模擬量的精度是無窮高,因此大大提高了測量精度。探測器測量和讀取的是激光的能量中心。如果激光有部分照射到靶區之外,能量就會部分損失,因此在測量時必須保證激光束全部打在探測器內。最后通過設計好的計算程序將計算結果以數據和圖型在顯示單元的屏幕上給出,并自動給出可調整設備的前、后地腳下相應墊片的調整值。
    面背百分表,如圖2(A)所示該方法是軸對中的標準做法,直到今天很多沒有激光對中儀的單位仍然使用該方法。該方法用聯軸器背部讀數差來確定位移,用端面讀數差來確定角度。該方法的主要缺點是:表架的撓度原因,長跨距的軸對中無法作;當跨距小于100mm時,一般需要塞尺配合才能確定角度偏差;每調整一次都需要重新測量;當有軸向竄動時該方法無法使用。
    單表法找正,如圖2(B)所示該方法是利用百分表測量聯軸器的外圓,兩個轉子的聯軸器外圓都需要測量,即將一塊百分表架固定在固定設備軸上測量可移動設備軸上的聯軸器外圓。而另一塊百分表架固定在可移動設備軸上測量固定設備軸上的聯軸器外圓,這種方法用上下左右的端面讀數差來確定上下左右的位移,但一般來說,兩表的讀數差是不同的,結合兩表的軸向距離,就可以算出角度偏差來。這種方法的最大優點是位移,角度一次讀出。但缺點是當兩表的軸向距離小于聯軸器直徑時,角度的精度就比較低。
    激(ji)光(guang)找正法中如圖2(C)所示(shi)S單元(yuan)與M單元(yuan)分別替代百(bai)分表并固定在聯軸器的兩側,根據相(xiang)似三(san)角形幾何原理(li)輸入(ru)相(xiang)應數據,操作(zuo)完(wan)成后顯示(shi)單元(yuan)將(jiang)自動計算出(chu)平(ping)行偏差和角度偏差,其水平(ping)和垂直位置用(yong)圖像、數字顯示(shi)出(chu)來。并自動給出(chu)可調整設備前、后地腳下(xia)相(xiang)應墊片的調整值(zhi)。

圖2 打表找(zhao)正法和激光找(zhao)正法
    3 激光找正儀在安裝中的使用過程
    激光找正一般是在冷態中找正,操作過程 簡單、方便、快捷,主要找正步驟如下:
    (1)安裝固定測量裝置。首先安裝帶鏈軸支架,然后安裝固定設備側激光發射器和可移動側激光反射器,最后連接2根數據連接線。
    (2)啟動測量系統。按下啟動按鍵進入程序列表,先進入軟腳測量程序(13),將激光對中儀轉到l2點鐘位置調整激光束盡量打到靶心,打開目標靶,依次松開和擰緊地腳螺栓,最后顯示所有軟腳的結果,按程序給出的數據調整墊片。
    (3)粗略對中。首先將軸轉到9點鐘的位置(面對調整端左手邊為9點),將激光束瞄準封閉目標的中心位置,其次轉到3點鐘的位置,檢測激光擊中目標的情況,最后調節可移動機器,以便激光的光束擊中兩個目標的靶心,測量前打開目標靶。 
    (4)輸入間距。水(shui)平程序要求測量(liang)裝(zhuang)置、聯軸器和機(ji)器機(ji)腳之間的距離,如圖3所示,使(shi)用(yong)數字鍵輸入間距并確認。

圖(tu)3 離心泵(beng)機組(zu)找(zhao)正示(shi)意圖(tu)
    (5)測量程序。采用時鐘水平機械對中程序(11),將軸分別轉到9、12、3點鐘的位置并確認,通過將軸轉動180 °以達到測量目的 。
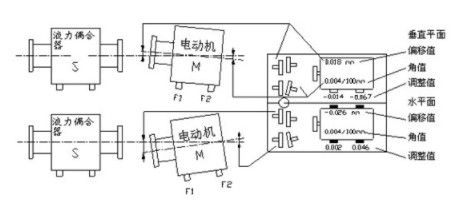
    (6)顯(xian)示測量結(jie)果。移動機器(qi)的水平和(he)垂(chui)直位置(zhi)將用圖像、數字顯(xian)示出來,如圖4所示。

圖4 顯示測量結果
    (7)根據測量結果通過調整地腳墊片,使最終測量結果達到設備安裝誤差允許范圍之內,并保存測量數據結果。 
    4離心泵找正中的應用實例 
    以我單位動力部調速鍋爐給水泵修理找正為例。該機組電動機和多級泵是通過GWT58無極調速型液力偶合器聯接傳遞動力。機組聯軸器找正還要求預置熱膨脹值偏差。以往采用打表法找正,需要做找正專用支架,由于跨度大表架的撓度原因,往往找正過程漫長,費時費力,找正結果誤差無法保證,導致機組開車后振動偏大或運行周期達不到修理要求。
    近兩年來(lai),我單(dan)位修(xiu)理(li)該機組(zu)時則采用D505型激光對(dui)中(zhong)(zhong)(zhong)(zhong)(zhong)儀進(jin)行(xing)(xing)找(zhao)正。由于激光對(dui)中(zhong)(zhong)(zhong)(zhong)(zhong)技(ji)術精確(que),操作(zuo)方便(bian),不(bu)但大大提高工作(zuo)效(xiao)率還能(neng)有效(xiao)地保(bao)證設備運行(xing)(xing)周期。以(yi)圖(tu)3中(zhong)(zhong)(zhong)(zhong)(zhong)的液(ye)力偶(ou)合器(qi)和(he)電(dian)動(dong)機間(jian)的聯(lian)軸器(qi)找(zhao)正為(wei)例,進(jin)行(xing)(xing)詳(xiang)述激光對(dui)中(zhong)(zhong)(zhong)(zhong)(zhong)儀在(zai)找(zhao)正過程(cheng)(cheng)中(zhong)(zhong)(zhong)(zhong)(zhong)的應用。以(yi)液(ye)力偶(ou)合器(qi)為(wei)設備基準(zhun),固定S單(dan)元(yuan);電(dian)動(dong)機為(wei)可(ke)移(yi)動(dong)設備,固定M單(dan)元(yuan);C點(dian)為(wei)聯(lian)軸器(qi)中(zhong)(zhong)(zhong)(zhong)(zhong)心;F1、F2分(fen)(fen)別為(wei)M單(dan)元(yuan)的電(dian)機前、后地腳支承點(dian)。按照使用過程(cheng)(cheng)中(zhong)(zhong)(zhong)(zhong)(zhong)步驟分(fen)(fen)步操作(zuo),圖(tu)3中(zhong)(zhong)(zhong)(zhong)(zhong)各點(dian)輸(shu)入間(jian)距的距離數據見表1。

第一步進入軟(ruan)(ruan)(ruan)腳(jiao)(jiao)測量(liang)程(cheng)序(13)。將激(ji)光對(dui)中儀轉(zhuan)到l2點(dian)(dian)(dian)鐘(zhong)位(wei)置調整激(ji)光束盡量(liang)打到靶心,打開(kai)(kai)目標靶,依次松(song)開(kai)(kai)和擰緊地(di)(di)(di)腳(jiao)(jiao)螺栓(shuan),最后(hou)顯示(shi)所有軟(ruan)(ruan)(ruan)腳(jiao)(jiao)的結果。如圖5所示(shi),電機存在(zai)軟(ruan)(ruan)(ruan)腳(jiao)(jiao),根據數據將0.23點(dian)(dian)(dian)處(chu)地(di)(di)(di)腳(jiao)(jiao)加0.2mm墊片,將0.12點(dian)(dian)(dian)處(chu)地(di)(di)(di)腳(jiao)(jiao)加入0.1mm墊片,即消(xiao)除電機軟(ruan)(ruan)(ruan)腳(jiao)(jiao)。(測量(liang)4個點(dian)(dian)(dian)的差值(zhi)大于0.05mm即存在(zai)軟(ruan)(ruan)(ruan)腳(jiao)(jiao))。

    第二步進行粗略調整。首先將軸轉到9點鐘的位置,將激光束瞄準封閉目標的中心位置,其次將軸轉到3點鐘的位置,
檢測激光擊中目標靶的情況,最后調整電機,以便激光的光束擊中兩個目標的靶心。
    第三步進入時鐘測量法程序(11)進行測量。將軸分別轉到9、12、3點鐘的位置測量數據并確認。然后再按6鍵進行預置熱膨脹值偏差輸入,按要求液力偶合器聯軸器比電機聯軸器垂直方向上在室溫30℃左右時低0.25-0.30mm。在熱膨脹值程序內選擇如圖6中所示程序,并輸入0.25mm膨脹偏差值,按確認鍵操作完成后,最后測量顯示結果如圖7所示。
    第四步按圖7中測量結果進行調整,在垂直方向上電機前地腳增加0.25mm墊片,電機后地腳增加1.40mm墊片。在水平方向上電動機前地腳向右頂0.04mm,電機后地腳向左頂0.71mm。(面向電機區分左右)。調整結束后按9鍵再進行一次時鐘法測量,最終測量結果如圖4所示,數據滿足找正要求。判斷測量結果是否在允許范圍之內,可以在程序中查找通用標準要求,該機組工作轉速為2980r/min ,將平行偏移量控制在0.05mm,角度偏移量控制在0.05mm/100 mm之內即滿足要求。
    第五步按菜單鍵選擇10進行(xing)(xing)測(ce)量數據(ju)保(bao)存,以(yi)(yi)供以(yi)(yi)后找(zhao)正參考。找(zhao)正過(guo)程(cheng)全部結束,試車后最大振動在0.03mm以(yi)(yi)下(xia),機組運行(xing)(xing)正常。

圖7顯示測量結果
    5激光對中儀在找正中的不足 
    激光對中儀在室外有陽光直接照射到探測器的PSD表面或有強烈的電焊光照射時以及環境溫度過高或過低時等,有可能得不到精確穩定的測量結果。
    6 結束語 
    實踐證明激光找(zhao)正過(guo)程時間短、快速(su)(su)、方(fang)便(bian)和(he)準確(que)。工作(zuo)效(xiao)率明顯提高,減(jian)少大量繁瑣工作(zuo)和(he)打表找(zhao)正誤差,提高找(zhao)正精度(du),可降低設備(bei)能耗,大大提高設備(bei)運行經濟效(xiao)益,延長設備(bei)維修(xiu)周期。由(you)于激光找(zhao)正技術精度(du)高、快速(su)(su)、方(fang)便(bian)等優(you)點(dian),使其(qi)在(zai)設備(bei)找(zhao)正中(zhong)具有廣泛的使用前景。